领健美业用户手册

  1. 主页
  2. 文档
  3. 私密:领健美业用户手册
  4. 有客
  5. 首页

首页

1、如何下载公众号二维码

智能营销——SCRM——服务号——点击下载公众号二维码

2、公众号首页

包含看板、微信公众号、微信通知、设置中心

1)看板

主要显示的当日新增的粉丝数、粉丝总数、已绑定的数量、当日咨询人数、微信预约数量,分别会以趋势图的形式体现。并按日期统计发送图文的数量。

2)微信公众号

自定义菜单

公众号授权后,需要发布微信菜单。诊所可以在默认菜单的基础上,隐藏部分系统菜单,或增加自己的链接到新的菜单上。菜单关联项,可以是系统模块,也可是网页链接。

设置完成后,点击[保存并发布],一般3-10分钟后,可以看到公众号菜单已更新(这个时间是微信控制的,有时候更新时间可能会到30分钟甚至更长)。

设置关注回复

新粉丝关注公众号后,默认自动回复的内容,可以在下面自行设置。诊所可以把最新活动信息、电话、地址等第一时间告诉新粉丝。

可以设置回复文字、图片或图文。如想在文字里加入表情,暂时可以用拷贝的方式,从微信对话框里拷贝

还可以选择加入[提交资料]和[自助绑定]的链接,直接引导新老客户在关注公众号时绑定账户和完善资料。

关键字回复

通过设置关键字回复,粉丝可以自助获取相关资讯和引导。如,粉丝关注公众号后,回复一段文字,比国内说明回复什么关键字可查看什么内容。

可以添加多个关键字,均回复下方设置的内容。关键字精致匹配,英文字母不区分大小写。

回复的内容可以是文字、图片或图文。并且粉丝回复的关键字,不作为咨询消息推送给客服。

粉丝管理

粉丝管理列出了当前诊所绑定的公众号的全部粉丝,可以查看归属于不同门店与不同活动类型的粉丝,还可以对粉丝打标签,能根据用户昵称,备注来搜索粉丝,根据标签来筛选查看粉丝。

可操作发送信息给粉丝、对应的添加标签。如下图2

3)微信通知

公众号里对应的模板可开启推送通知

*注:要确认公众号后台模板正确

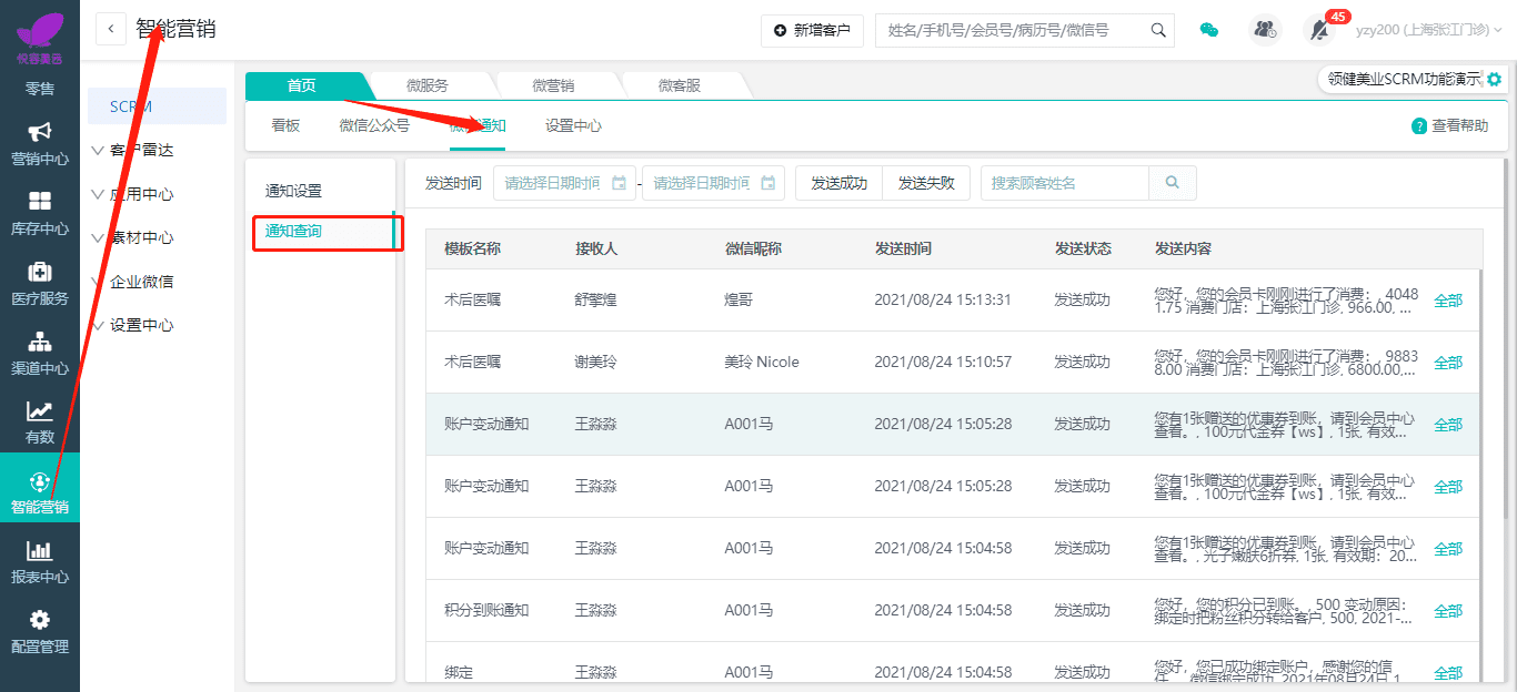
通知查询

可按照模板名称,查看推送是否成功

    这篇文章对您有用吗?

    我们要如何帮助您?